用途
特徴
製品仕様
使用方法
用途
パレット積荷の荷崩れ防止、パイプの結束、棚の荷物の落下防止等
ページのトップへ
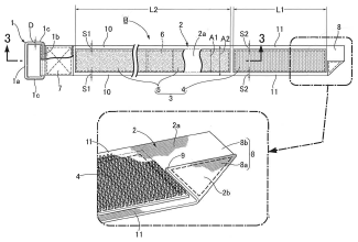
特徴
PP素材で
耐久性
に優れている
全面 面ファスナーで一人で
簡単
に締められる
何度でも
繰り返し
使える
リング(角カン)仕様で製品を
傷つけにくい
コンパクト
で収納に場所をとらない
ページのトップへ
製品仕様
サイズ
5m×幅50mm
4m×幅50mm
色
ブルー
オレンジ
素材
本体…ポリプロピレン(PP)使用
着脱部…面ファスナー
リング(角カン)…金属製
実用新案登録済み
登録実用新案第3217474号
ページのトップへ
使用方法
①
▶
②
▶
③
①
②
③
ページのトップへ
パンフレットダウンロード
(PDF)
Copyright © 2019 株式会社 國盛 -こくせい- All Rights Reserved.